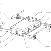
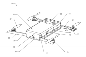
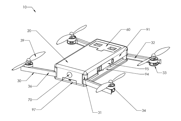
Ufficialmente non si sa ancora nulla di come potrà essere fatto il drone GoPro. Ma un brevetto rilasciato in gran segreto da un impiegato dell’azienda californiana potrebbe significare che il futuro Karma (atteso per fine anno) sarà ripieghevole, modulare e con un geniale scomparto per metterci le eliche.
Niente di rivoluzionario, certo, ma un design intrigante e comodo da trasportare. Il brevetto lascia la porta aperta a varie forme: non solo a scatola ma anche cilindrico o sferico.
Il brevetto lascia anche intendere che il drone sarà equipaggiato da una normalissima GoPro Hero: una soluzione che non ci convince assolutamente, visto che la Hero non è molto adatta alle riprese aeree, ma non è assolutamente detto che le cose saranno così nella realtà. Anzi, saremmo davvero stupiti (e delusi) se un’azienda come GoPro da qui a Natale non riuscisse a tirare fuori una videocamera davvero rivoluzionaria per completare il suo drone. La Hero lasciamola ai surfisti, per loro era nata e per loro va benissimo. Per noi che non voliamo sulle onde ma nel cielo, è ormai decisamente superata.
GALLERY








