Un drone per portare a passeggio il cane? E perché no? Ci chiediamo giusto se si tratta di una operazione specializzata e dunque il cane deve prendere l’attestato di pilota remoto. In effetti piloti cani ne conosciamo, cani piloti ancora no.
Gli americani ci hanno abituato al fatto che brevettano ogni cosa, dalle invenzioni più geniali alle strampalerie più dissennate, e francamente non sappiamo in quale categoria inserire l’ultimo brevetto di IBM. Big Blue propone addirittura un drone dog sitter, un robot volante in grado di addestrare, accudire, nutrire cani e gatti e anche evitare che distruggano la casa quando il proprietario è assente.
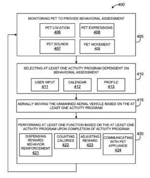
Il drone è corredato di sensori di vario tipo, non manca nemmeno un termometro per sapere se l’animale può avere troppo freddo o troppo caldo, e un microfono per scoprire se miagola, abbaia, ringhia o fa le fusa. E anche una telecamera per seguirlo e vedere se sta entrando in zone della casa che per lui sono off limits. La camera nelle intenzioni dei veterinari, pardon degli ingegneri IBM riconosce anche i pattern di attività della bestia, quindi se si stufa può intrattenerlo con dei giocattoli controllati via Internet. Sempre secondo quel che si legge nel brevetto, durante il gioco il drone lo incoraggia con frasi preregistrate con la voce del padrone che lo coccola e lo incita. E lo può anche sgridare, se non a il bravo o la brava.
Grazie alla domotica, il drone può interagire con la casa inetlligente e altri apparati connessi a Internet: quindo può per esempio aprire e chiudere la porta per farlo uscire, o attivare una mangiatoia digitale che fornisce cibo e acqua. E naturalmente il tutto è remotabile, così il padrone può vedere cosa fa il suo cucciolone e anche giocare con lui via drone.
Il fatto che IBM abbia chiesto un brevetto non significa assolutamente che abbia intenzione di produrlo sul serio: un portavoce di Big Blue spiega che i ricercatori “hanno visto un’opportunità di applicare le loro competenze su internet delle cose e droni all’industria degli animali domestici, che vale diversi miliardi solo negli USA”.
Consigliamo a Big Blue di fare anche un piccolo drone comandabile dal gatto stesso per monitorare cosa combina il padrone quando non gioca con lui. Così, giusto per par condicio.
l’immagine in apertura è un fotomontaggio di fantasia e non c’entra nulla con il brevetto IBM




