(nell’immagine TF-X, Concept di Terrafugia)

Volare su traffico delle città senza essere nababbi è un sogno che resterà tale ancora per molti anni, ma qualche timido progetto si sta vedendo. Il primo a provarci seriamente è stato il produttore di piccoli droni Ehang con il suo taxi 184, completamente automatico che può trasportare un passeggero, e ora è la volta di Uber, la piattaforma di social taxi che ha messo in cantiere “una ricerca per veicoli a decollo e atterraggio verticali”, come ha dichiarato il capo della ricerca Uber Jeff Holden al sito hi tech Recode. “un giorno o l’altro potremmo offrire ai nostri clienti diverse opzioni per la mobilità. Ed è ovvio che ci interessa l’idea di muoversi in tre dimensioni”. Holden comunque ammette che ci vorrà un decennio prima di poter chiamare un taxi volante, ance perché mancano del tutto le infrastrutture per decollo e atterraggio: magari un domani tutte le case avranno il loro “droneporto” sul tetto, ma oggi non è certo così e atterrare in piazza non sembra molto plausibile. E poi non è mica detto che sarà Uber ad arrivare primo: oltre a
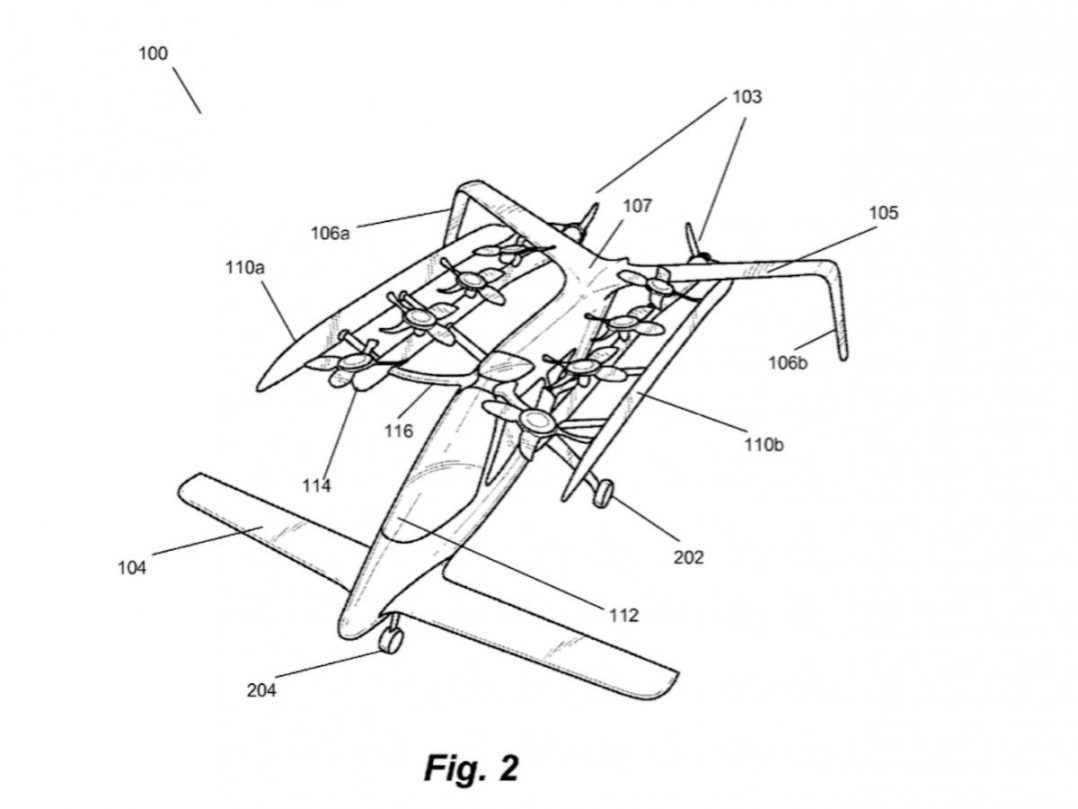
Ehang, anche Airbus sta lavorando a un taxi volante, sviluppato in collaborazione con A3, laboratorio esterno della stessa Airbus nella Silicon Valley. E in corsa c’è nientemeno che Larry Page, co-fondatore di Google e Aplphabet, che ha messo di tasca sua 100 milioni di dollari in una startup, Zee.Aero, che lavora a un progetto acora segretissimo di oggetto volante elettrico per il trasporto di persone, di cui ancora non si sa nulla, ma c’è almeno un brevetto attivo (vedi immagine a sinistra)




